Limp mode! Wtf help needed
-
- Posts: 33
- Joined: Fri Jan 08, 2016 8:03 am
- Model Year: 2006
Limp mode! Wtf help needed
On my way up to go play in the woods a bit all of a sudden i noticed the truck was runing rough and loud, was allready going slow so i stop. I got the lightning bolt light flashing and really shit idle, high, rough and loud. Head back home on full on limp mode 30-35 km/h is the most i get, but runs real smooth just gives me no more than 2000 rpm no matter throttle input. Now what? Looked up manual and online, that light is related to the electronic throttle control and a flashing condition means get this fixed now. I haven't found a sulution that i truly belive in so far. My codes are P2110 ETC system bank-forced limited rpm and P2118 ETC motor current performance - bank 1. Any body ever had this happen. I need to figure this out quick they are calling for a foot of snow tuesday and i need this pig to make me some $$ plowing
- DamageWagon
- Vendor
- Posts: 2303
- Joined: Tue Oct 11, 2016 1:21 am
- Model Year: 2011
- Location: Portland, OR
- Contact:
Re: Limp mode! Wtf help needed
I don't have the codes written down any more but those sound like what I had and read. I had the codes after night water inside the connector that goes to the throttle body. I cleaned it with electronics cleaner and it was the same thing. After making sure it was clean and blowing it out with air the code went away. Try checking if there's moisture in the connector. That's all I have for now man, I'll think on this.
Sent from my safe space
Sent from my safe space
- nts007
- 2000_Posts
- Posts: 2284
- Joined: Wed Dec 11, 2013 10:01 pm
- Model Year: 2008
- Location: Sask, Canada, Earth
Re: Limp mode! Wtf help needed
Check your battery and charging system as well. Sometimes it can simply be a dirty or bad connection to the battery or a weak alternator. Just google the code
08 ctd--mini max--thuren 3" coils and LT Leaves--4.56 gears and lockers in pw axles--some lights--afe intake system--bd super b turbo--Banks w/m Injection--Dynatrac Balljoints--king 2.5"s--37" Hankook Dynapro MT--DOR Long arms--Custom emf track bar--Manual T-case swap--Full PW Under armor--PSC Hydro Assist and so much more
- Retired BLM Rig
- 1000_Posts
- Posts: 1217
- Joined: Sun Jan 31, 2016 6:51 pm
- Model Year: 2008
- Location: State of Jefferson
Re: Limp mode! Wtf help needed
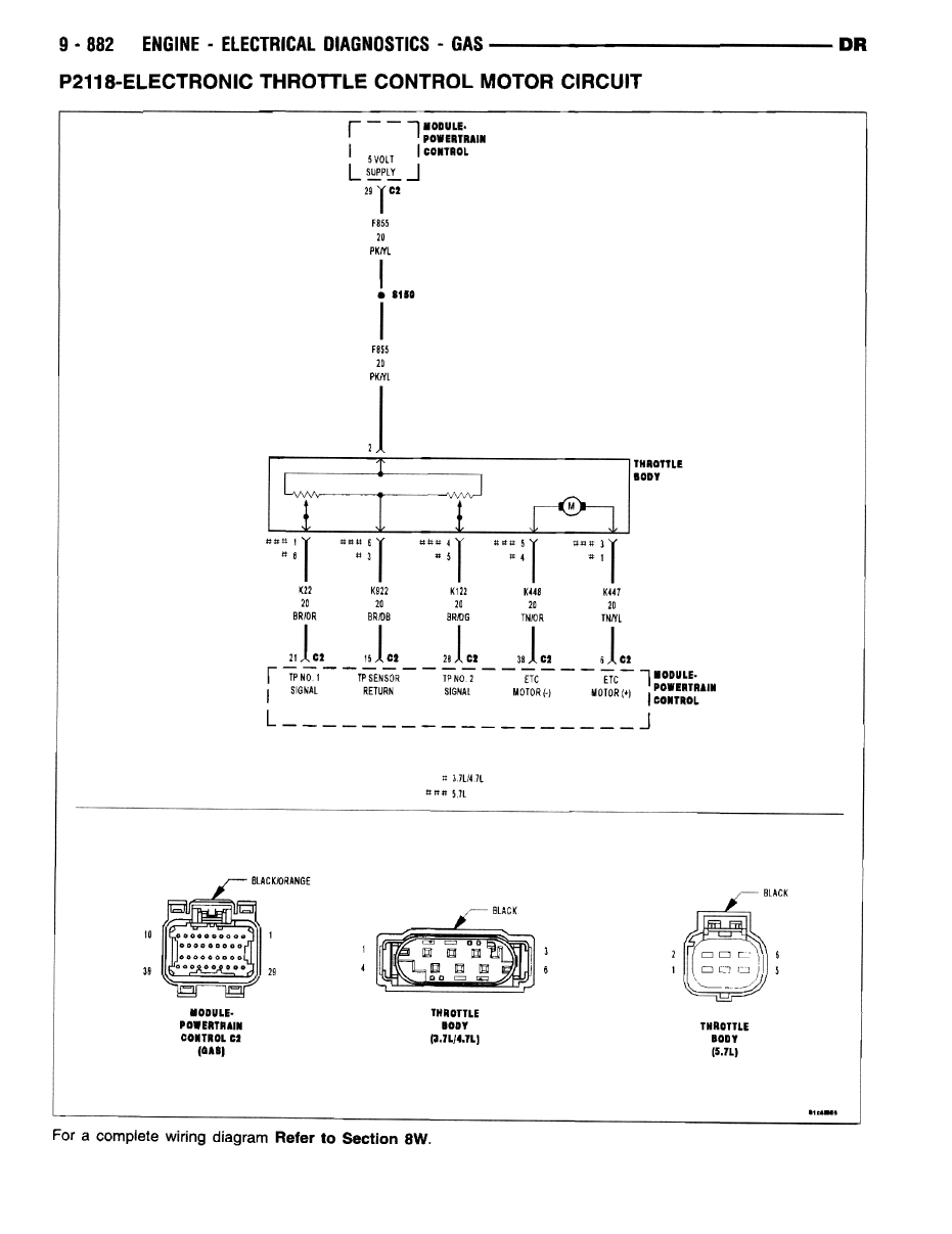
Some information from the 2008 FSM for code P2118 (There's a lot more info, but you may need a new electronic throttle control motor/throttle body) (If you do need a new ETC/TB, it requires a reprogramming/relearn procedure with a scan tool):
Code P2118
When Monitored:
With the ignition on and the ETC Motor is not in Limp Home mode .
• Set Condition:
When the PCM detects an internal error or a short between the ETC Motor - and ETC Motor + circuits in the
ETC Motor Driver. One trip fault. ETC light is flashing.
Possible Causes
THROTTLE PLATE / BORE INSPECTION
(K447) ETC POSITIVE CIRCUIT SHORTED TO VOLTAGE
(K448) ETC NEGATIVE CIRCUIT SHORTED TO VOLTAGE
(K447) ETC POSITIVE CIRCUIT SHORTED TO THE (K448) ETC NEGATIVE CIRCUIT
(K447) ETC POSITIVE CIRCUIT OPEN
(K447) ETC POSITIVE CIRCUIT SHORTED TO GROUND
(K448) ETC NEGATIVE CIRCUIT OPEN
(K448) ETC NEGATIVE CIRCUIT SHORTED TO GROUND
ETC MOTOR
POWERTRAIN CONTROL MODULE {PCM}
Always perform the Pre-Diagnostic Troubleshooting procedure before proceeding. (Refer to 9 - ENGINE -
DIAGNOSIS AND TESTING).
Diagnostic Test
1 . ACTIVE DTC
Ignition on, engine not running.
NOTE: If the P2118 is intermittent, it is possible that the controller is overheating in extreme hot temperatures,
and this is considered a normal protection operation. No repair is necessary.
NOTE: If P2072 is also set, this indicates that the cold weather ice blockage routine has run. No repair
action is necessary.
With a scan tool, select View OTCs.
Look closely at the temperatures at which this DTC set.
Is the DTC Active at this time?
Yes »Go To 2
No »Refer to the INTERMITTENT CONDITION Diagnostic Procedure. (Refer to 9 - ENGINE - DIAGNOSIS
AND TESTING.)
2. THROTTLE PLATE INSPECTION
Turn the ignition off.
Remove the Air Cleaner Assembly from the Throttle Body.
Check for any signs of a foreign material (ice or dirt) on the Throttle Plate or in the bore causing the Throttle Plate
to stick.
Were any signs of foreign material or scoring of the throttle plate or bore found?
Yes »Remove the debris if possible or replace the Throttle Body Assembly. Disconnect the Battery when
replacing the Throttle Body Assembly. After installation is complete. use a scan tool and select the ETC
RELEARN function.
Perform the POWERTRAIN VERIFICATION TEST. (Refer to 9 - ENGINE - STANDARD PROCEDURE.)
No »Go To 3
Good luck!
Code P2118
When Monitored:
With the ignition on and the ETC Motor is not in Limp Home mode .
• Set Condition:
When the PCM detects an internal error or a short between the ETC Motor - and ETC Motor + circuits in the
ETC Motor Driver. One trip fault. ETC light is flashing.
Possible Causes
THROTTLE PLATE / BORE INSPECTION
(K447) ETC POSITIVE CIRCUIT SHORTED TO VOLTAGE
(K448) ETC NEGATIVE CIRCUIT SHORTED TO VOLTAGE
(K447) ETC POSITIVE CIRCUIT SHORTED TO THE (K448) ETC NEGATIVE CIRCUIT
(K447) ETC POSITIVE CIRCUIT OPEN
(K447) ETC POSITIVE CIRCUIT SHORTED TO GROUND
(K448) ETC NEGATIVE CIRCUIT OPEN
(K448) ETC NEGATIVE CIRCUIT SHORTED TO GROUND
ETC MOTOR
POWERTRAIN CONTROL MODULE {PCM}
Always perform the Pre-Diagnostic Troubleshooting procedure before proceeding. (Refer to 9 - ENGINE -
DIAGNOSIS AND TESTING).
Diagnostic Test
1 . ACTIVE DTC
Ignition on, engine not running.
NOTE: If the P2118 is intermittent, it is possible that the controller is overheating in extreme hot temperatures,
and this is considered a normal protection operation. No repair is necessary.
NOTE: If P2072 is also set, this indicates that the cold weather ice blockage routine has run. No repair
action is necessary.
With a scan tool, select View OTCs.
Look closely at the temperatures at which this DTC set.
Is the DTC Active at this time?
Yes »Go To 2
No »Refer to the INTERMITTENT CONDITION Diagnostic Procedure. (Refer to 9 - ENGINE - DIAGNOSIS
AND TESTING.)
2. THROTTLE PLATE INSPECTION
Turn the ignition off.
Remove the Air Cleaner Assembly from the Throttle Body.
Check for any signs of a foreign material (ice or dirt) on the Throttle Plate or in the bore causing the Throttle Plate
to stick.
Were any signs of foreign material or scoring of the throttle plate or bore found?
Yes »Remove the debris if possible or replace the Throttle Body Assembly. Disconnect the Battery when
replacing the Throttle Body Assembly. After installation is complete. use a scan tool and select the ETC
RELEARN function.
Perform the POWERTRAIN VERIFICATION TEST. (Refer to 9 - ENGINE - STANDARD PROCEDURE.)
No »Go To 3
Good luck!

2008 Quad Cab - Stock RTI = 655, curb weight = 6081 lbs. Abel Components Plug & Play Locker Bypass®, Abel Components Full SmartBar Bypass®, Abel Components Nanny Kill Switch®, 2000 Watt ProMariner TruePower Plus Pure Sine Wave Inverter, Trailer Hitch Storage, MOLLE Door Panels, Wilton Hitch Vice, Locking Under Seat Storage Drawer, Smittybilt 2781 Air Compressor, 14K PullPal, Hi-Lift First Responder Jack, 25' Jumper Cable System, Slip Yoke Eliminator in a Can, Evolution vs. God, Share the Umbrella, Make sure you're right with God before you meet him!
Re: Limp mode! Wtf help needed
It's your Throttlebody My 06 did that they had issues with those going out.
Re: Limp mode! Wtf help needed
If you clear the codes turn on hook your battery for like five minutes sometimes I'll start working again
-
- Posts: 33
- Joined: Fri Jan 08, 2016 8:03 am
- Model Year: 2006
Re: Limp mode! Wtf help needed
Yeah im afraid the TB took a dump, but truck works fine for a few km's then it happens. Turn it off and back on and good to go. Im looking into finding the actual pinout diagram at the pcm to run the diagnostic sequence BLM posted which comes up everytime i search from different sources. Anyway problem is they instruct you to probe terminals in accordance with the layout of the "miller special tool 8815" aka 250 wire harness that is not laid out like the factory plug. Pulled the TB and im quite upset at the fact that you cant even pull the stupid cover off to see the mecanism and internal wiring as im pretty sure its just something minor that wore out in there... either way ive always despised that ridiculous electronic throttle non sense what the hell was wrong with a good old cable setup? My truck should still work fine. Might be time to cut the bullshit and do that cummins 12v swap ive been dreaming about.
Re: Limp mode! Wtf help needed
Yup, they are always making thing more complicated than they need to be. As a result, most people can't work on them themselves anymore. I bet you are right, something simple, but they will just throw it away & put a new one on. One day, vehicles may be a throw away item ? 

- Retired BLM Rig
- 1000_Posts
- Posts: 1217
- Joined: Sun Jan 31, 2016 6:51 pm
- Model Year: 2008
- Location: State of Jefferson
Re: Limp mode! Wtf help needed
The introduction of electronic throttle was paving the way for future traction control nannies in the fourth gen. It's probably a shorted commutator or worn out brushes on the little electric motor. I'll try to take some screen shots of the FSM so you have some more diag. info.
2008 Quad Cab - Stock RTI = 655, curb weight = 6081 lbs. Abel Components Plug & Play Locker Bypass®, Abel Components Full SmartBar Bypass®, Abel Components Nanny Kill Switch®, 2000 Watt ProMariner TruePower Plus Pure Sine Wave Inverter, Trailer Hitch Storage, MOLLE Door Panels, Wilton Hitch Vice, Locking Under Seat Storage Drawer, Smittybilt 2781 Air Compressor, 14K PullPal, Hi-Lift First Responder Jack, 25' Jumper Cable System, Slip Yoke Eliminator in a Can, Evolution vs. God, Share the Umbrella, Make sure you're right with God before you meet him!
- Retired BLM Rig
- 1000_Posts
- Posts: 1217
- Joined: Sun Jan 31, 2016 6:51 pm
- Model Year: 2008
- Location: State of Jefferson
Re: Limp mode! Wtf help needed
This is all the diag. info for code P2118.
Remember that pin locations and wire colors may be different on your 2006 compared to the 2008 FSM.
Remember that pin locations and wire colors may be different on your 2006 compared to the 2008 FSM.

2008 Quad Cab - Stock RTI = 655, curb weight = 6081 lbs. Abel Components Plug & Play Locker Bypass®, Abel Components Full SmartBar Bypass®, Abel Components Nanny Kill Switch®, 2000 Watt ProMariner TruePower Plus Pure Sine Wave Inverter, Trailer Hitch Storage, MOLLE Door Panels, Wilton Hitch Vice, Locking Under Seat Storage Drawer, Smittybilt 2781 Air Compressor, 14K PullPal, Hi-Lift First Responder Jack, 25' Jumper Cable System, Slip Yoke Eliminator in a Can, Evolution vs. God, Share the Umbrella, Make sure you're right with God before you meet him!
-
- Posts: 33
- Joined: Fri Jan 08, 2016 8:03 am
- Model Year: 2006
Re: Limp mode! Wtf help needed
So i had a big ol reply typed about all this this morning but it wouldn't let me post it, anyway boiled down to how i still needed to find the actual pin location on the connector as the fsm tells you locations with the stupid tool 8815 and its nowherre near the same layout but i was going to look into it more andmaybe try to find said tool localy. That didnt happen but i cleaned the shit out of my TB and re-installed it. And that seem to have done it... im not ready to call it fixed yet but took the truck on a 12 km test drive then went out in town to run some errands and all is good. First step of the troubleshooting procedure is check for sticking throttle blade. To me it didnt seem like it was but maybe it really does not take much and the blade was sticking in the black TB gunk. I'll report back in a few days.
- Retired BLM Rig
- 1000_Posts
- Posts: 1217
- Joined: Sun Jan 31, 2016 6:51 pm
- Model Year: 2008
- Location: State of Jefferson
Re: Limp mode! Wtf help needed
That would be great if cleaning solved it! 

2008 Quad Cab - Stock RTI = 655, curb weight = 6081 lbs. Abel Components Plug & Play Locker Bypass®, Abel Components Full SmartBar Bypass®, Abel Components Nanny Kill Switch®, 2000 Watt ProMariner TruePower Plus Pure Sine Wave Inverter, Trailer Hitch Storage, MOLLE Door Panels, Wilton Hitch Vice, Locking Under Seat Storage Drawer, Smittybilt 2781 Air Compressor, 14K PullPal, Hi-Lift First Responder Jack, 25' Jumper Cable System, Slip Yoke Eliminator in a Can, Evolution vs. God, Share the Umbrella, Make sure you're right with God before you meet him!